https://www.youtube.com/watch?v=Yfzb2gscSzo
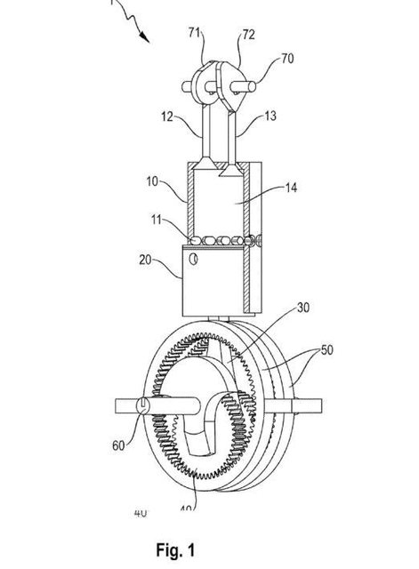
很強烈字眼的標題 來自 Porsche 在這個許多車廠都放棄研發內燃機的時刻 前幾天 Porsche 通過了六行程引擎的專利 不過 跟以前相對廣泛被理解的噴水六行程引擎不同 Porsche 新的六行程引擎 是傳統四行程裡面插入一個二行程循環 這是結構的概圖 https://i.imgur.com/ezX8xM1.jpeg
然後在連桿大端利用偏心軸 https://i.imgur.com/2GxgApo.jpeg
並且利用行星齒輪方式帶動 得到可變的上下死點 https://i.imgur.com/mF0KHIN.jpeg
可以看出 在360度跟720度有高位上死點 0度是低位上死點 180度跟900度有高位下死點 540度有低位下死點 在低位下死點時 能露出在汽缸壁的掃氣口 https://i.imgur.com/e59ks55.jpeg
利用被增壓的空氣掃氣 由第一張圖可以看出 排氣閥開啟兩次 進氣閥開啟一次 第二次進氣從汽缸下半的掃氣孔 相當詭異的設計啊 當然這樣設計的動力必然是增強的 動力行程的比例增加了 總進氣量增加了 但是現在趨勢的重點是熱效率啊 某些報導這六行程引擎可以達到50%熱效率 或是與之前噴水的六行程引擎被搞混了? 噴水的六行程引擎因為餘熱被利用 所以熱效率是可以提昇 可能重點還是在掃氣孔的進氣是怎樣的 看了一些報導並沒有寫明 或許這些機密以後才會慢慢被披露 這 -- ※ 發信站: 批踢踢實業坊(ptt-web.org.tw), 來自: 117.82.87.106 (中國) ※ 文章網址: https://ptt-web.org.tw/car/M.1727614710.A.C9E
KarlMarx: 會吃機油嗎? 09/29 21:03
mureka: 妥善率會是個重點 09/29 21:06
T8: 好像蠻厲害的! 09/29 21:07
SALEENS7LM: 各大廠早就重啟ICE研究了,越靠電車死越快,保時捷這 09/29 21:08
SALEENS7LM: 個六行程實際落地運用大概還要十多年吧 09/29 21:08
xayile: 有錢人一堆包養好嗎 09/29 21:08
SungHyun: 小眾車就沒必要吹捧成這樣了...Mazda SKYACTIV才是真正 09/29 21:14
SungHyun: 燃油引擎的天花板 09/29 21:14
lll156k1529: 車界最強還得是你啊 破蝦 09/29 21:35
lancechance: 油耗有20km/l以上嗎 09/29 21:59
hankower: Skyactive-X 雷聲大雨點小 09/29 22:01
cazo: 學生妹被包養多嗎 09/29 22:01
OldWang911: 有先問過引擎達人-本田 嗎? 09/29 22:07
supermni: 新增二行程似乎可以額外進行米一組勒循環,從而達到50% 09/29 22:41
supermni: 熱效率最快達卡拉力賽有機會見到 09/29 22:43
highca0709: 內燃機這種上個世代的科技沒有未來,苟延殘喘而已 09/29 22:43
DYE: 類似米勒循環的加長做功行程我是有想過的,但是這個例子只長 09/29 22:48
izilo: 有錢人為啥都想包養 09/29 22:48
DYE: 一點點。 09/29 22:48
JOHNJJ: 澱粉又失望了 09/29 22:49
rojin: 看車版長知識 09/29 22:56
QuentinHu: 三樓又發作了 09/29 23:04
T8: 看車板長知識,好文必推! 09/29 23:31
SEDAP: 有錢人為啥都想包養 09/29 23:31
mytheternal: 看不懂推 09/30 00:41
Zepho: 特粉:馬達通電就完事了 09/30 02:26
zzahoward: 不過專業到量產還要一陣子啦XDDD 09/30 07:10
hydeless: 聽說水平對臥引擎搭載六行程的專利也去申請了,看來是要 09/30 09:01
hydeless: 幫911續命 09/30 09:01
TUZom: 亞洲最大包養網上線啦 09/30 09:01
DYE: 影片就是拿911做預想應用車款 09/30 09:09
mtc5566: 如果把馬字達SKY-X潛力挖完 確實內燃機的效率還大有可期 09/30 12:04
Ericcws: 豐田才有本事說改變,保時捷?呵呵 09/30 12:51
bruceytw: 始點 09/30 14:48
bruceytw: 結果是我搞錯了 推回來 09/30 14:50
Jiulon: 我哥上包養網被我抓包.. 09/30 14:50
Fukker: 只要會排碳的一律沒有前景 09/30 15:22
j0930162: 又不平價,有啥屁用 09/30 15:40
hydeless: 買不起你的問題敢講有什麼屁用? 09/30 16:27
fenderrb: 居然不是開發新電機!!!保時捷超帥!! 09/30 19:51
Justinchen: 以為自己是iPhone嗎? 欠機勒窩! 笑死! 09/30 19:56
laetuon: 有人包養過洋鬼子嗎 09/30 19:56
AirLee: 永磁馬達效率90%起跳 燃油車可憐啊 09/30 22:10
reallocust: 我是好奇這長那麼一點點一滴滴行程能有多少效益,不要 09/30 23:32
reallocust: 像屎蓋X操作猛如虎,什麼把汽油當柴油一樣效率,結果成 09/30 23:32
reallocust: 績二百五 09/30 23:33
DYE: 如果目的是增強升功率那是可以的,但是如果已經克服燒機油就 10/01 01:51
slot365: 有錢人為啥都想包養 10/01 01:51
DYE: 是進氣口在刮油環以下的問題,那直接做二行程就好了啊,但二 10/01 01:51
DYE: 行程對高增壓其實也沒動力長項。總之這樣的設計詭異得很,對 10/01 01:51
DYE: 排氣需求工況也相當的複雜。現在不明處還是在缸壁的二次進氣 10/01 01:51
DYE: 是什麼,例如是另一缸的高壓排氣當進氣之類的。 10/01 01:51
DongRaeGu: 推文都不知道認真還反串呢 10/01 03:02
colortea: 有人被洋鬼子包養過嗎 10/01 03:02